【導讀】功率二極管晶閘管廣泛應用于AC/DC變換器、UPS、交流靜態開關、SVC和電解氫等場合,但大多數工程師對這類雙極性器件的了解不及對IGBT的了解,為此我們組織了6篇連載,包括正向特性,動態特性,控制特性,保護以及損耗與熱特性。內容摘自英飛凌英文版應用指南AN2012-01《雙極性半導體技術信息》。
3.4 載流子存儲效應和開關特性
當功率半導體的工作狀態變化時,由于載流子存儲效應,電流和電壓的穩態值不會立即改變。
此外,晶閘管觸發時只有門極結構附近的小塊區域導通。由此產生的開關損耗必須以熱的形式從半導體中散發出去。
3.4.1 開通
3.4.1.1 二極管
從非導通或阻斷狀態轉入導通狀態時,由于載流子存儲效應,二極管處產生電壓峰值(見圖20)。

圖20.二極管開通過程示意圖
■ 3.4.1.1.1 正向恢復電壓峰值VFRM
VFRM是正向回復期間產生的最高電壓值。該值隨著結溫和電流變化率的升高而增大。
電網 (50/60Hz)的電流變化率適中,VFRM可以忽略不計。但是在 di/dt>>1000A/μs的快速開關(IGBT、GTO和IGCT)自動換向變流器中,該值可能達到幾百伏。雖然正向恢復電壓僅存在幾微秒,且不會顯著增大二極管的總損耗,設計變流器時仍需考慮該值對開關半導體的影響。
針對這些應用優化的二極管圖表包含了正向恢復電壓和電流變化率之間的函數關系。
■ 3.4.1.1.2 通態恢復時間tfr
根據DIN IEC 60747-2,tfr是指突然從關斷狀態切換為規定的通態時,二極管完全導通且出現靜態通態電壓vF所需的時間(見圖20)。
3.4.1.2 晶閘管
在正向斷態電壓VD下通過變化率為diG/dt且強度為iGM的門極電流啟動開通過程。對于光觸發晶閘管,這同樣適用于施加在激光二極管上的規定觸發脈沖。在門極控制延遲時間tgd內,晶閘管上的阻斷電壓下降至90%(見圖21)。最初只有門極結構周圍的一小塊區域導通,因此可使用初始電流密度和通態電流(di/dt)cr的臨界上升率來衡量晶閘管在開通期間的穩健性。

圖21.晶閘管開通過程示意圖
a.具有關斷負載電路的門極電流
b.具有快速上升通態電流的門極電流(另見3.3.1.8)

圖22.門極控制延遲時間tgd與最大門極電流iGM之間的典型關系曲線
a.最大值 b.典型值
■ 3.4.1.2.1 門極控制延遲時間tgd
tgd是指從門極電流達到其最大值
IGM的10%時起,到陽極-陰極電壓下降至施加的正向斷態電壓VD的90%以下的間隔時間(見圖21)。
門極控制延遲時間隨著門極電流(對于LTTs為光功率)的增加而顯著減小(見圖22)。
在大功率晶閘管中,tgd也隨VD而變。
數據手冊中給出的值是依據DIN IEC 60747–6定義的,僅在Tvj=25°C和規定的觸發脈沖下有效。
■ 3.4.1.2.2 通態電流臨界上升率(di/dt)cr
一旦電壓因晶閘管觸發而崩潰,門極結構附近的一小塊陰極區域就開始傳導通態電流。然后此導電區域向外擴散,擴散速度通常為0.1mm/μs,具體取決于電流密度。因此系統的載流能力最初是有限的。但是,如果不超過數據手冊中規定的臨界電流轉換速率值,晶閘管就不會受損或損壞。對于S型晶閘管和具有大方形截面的晶閘管,門極得到分散(指條結構)。因此,這些類型表現出更高的(di/dt)cr。
根據DIN IEC 60747-6,臨界電流上升時間(di/dt)cr與阻尼正弦半波期間加載的通態電流有關。它被定義為在以下條件下,穿過上升通態電流10%和50%這兩個點的直線的角度(見圖21,圖47)。
結溫:Tvj=Tvj max
正向斷態電壓:VD=0.67VDRM
峰值電流:iTM=2ITAVM
重復頻率:f0=50Hz
在單獨數據手冊中定義了觸發脈沖(另見3.3.1.8)。
例外:用正向斷態電壓VD=VDRM測試光觸發晶閘管。
■ 3.4.1.2.3 重復開通電流IT(RC)M
IT(RC)M是指以某個不確定上升率開通后隨即產生的最大允許通態電流峰值。通常,這種通態電流是因RC緩沖電路放電產生的。最大允許重復開通電流還適用于以下達到通態電流臨界上升率(di/dt)cr的電流急升情況。
對于英飛凌元件,適用以下值:
IT(RC)M=100A
例外:型號命名為T...1N或T...3N的元件
IT(RC)M=150A
對于超過60Hz的應用,須減小臨界電流上升時間(di/dt)cr和重復開通電流IT(RC)M。應要求提供針對特定條件的詳細信息。
■ 3.4.1.2.4 斷態電壓臨界上升率(dv/dt)cr
(dv/dt)cr是正向施加的電壓上升率最大值,該值在0%至67%VDRM區間內幾乎呈線性,此時晶閘管不會切換到通態。
對于電壓指數上升,它是一條從最大值的0%開始,到63%結束的線,并且與指數函數相交。
它適用于觸發電路開路和最高允許結溫。超過(dv/dt)cr可能導致器件損壞。
例外:除過壓保護(BOD)以外,光觸發晶閘管還集成了dv/dt保護功能。當dv/dt升高時,此功能可使晶閘管在整個門極結構上安全觸發。
3.4.2 關斷
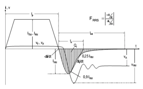
通常通過施加反向電壓來啟動關斷功能。晶閘管或二極管的負載電流不會在過零時停止,而是作為反向恢復電流繼續沿反向流動,直到載流子離開結區。
軟度系數FRRS描述的是關斷過程中電流上升率的關系。
3.4.2.1 恢復電荷Qr
Qr是半導體從通態轉換到反向斷態后流出半導體的電荷總量。該值隨著結溫、通態電流幅值和下降時間的增大而增大。除非另有說明,否則規定值僅在VR=0.5VRRM和VRM=0.8VRRM的條件下有效。為此指定了采用合適設計的RC緩沖電路。對于型號命名為T...1N、T...3N和D...1N的元件,數據手冊中規定的值為最大值,該值在生產過程中經過100%測試。
恢復電荷Qr主要隨結溫Tvj和衰減電流的下降率而變(見圖24和圖25)。

圖23.晶閘管和二極管的關斷過程示意圖

圖24.歸一化到Qr(Tvj max)的恢復電荷Qr與Tvj的典型關系曲線

圖25.歸一化到Qr(di/dt=10A/μs)的恢復電荷Qr與di/dt的典型關系曲線
3.4.2.2 反向恢復電流峰值IRM
IRM是反向恢復電流的最大值。Qr的關系曲線和工作條件也適用。如果圖中未顯示IRM,可通過以下公式大致確定IRM的值:

對于型號命名為T...1N、T...3N和D...1N的元件,數據手冊中規定的值為最大值,該值在生產過程中經過100%測試。
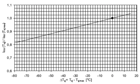
反向恢復電流峰值IRM主要隨結溫Tvj和衰減電流的下降率而變(見圖26和圖27)。

圖26.歸一化到IRM(Tvj max)的反向恢復電流峰值IRM與Tvj的典型關系曲線

圖27.歸一化到IRM(di/dt=10A/μs)的反向恢復電流峰值IRM與di/dt的典型關系曲線
3.4.2.3 反向恢復時間trr
trr是指從電流過零時起,到穿過反向衰減恢復電流的90%和25%這兩個點的直線過零時的時間間隔(見圖23)。如果沒有規定trr,可通過以下公式大致計算該值:

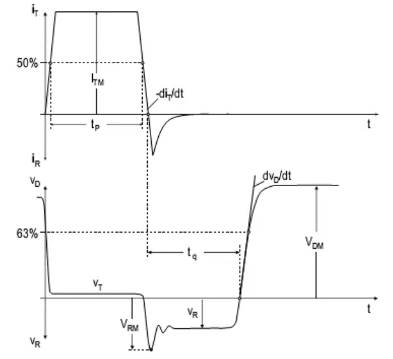
3.4.2.4 關斷時間tq
tq是指從反向換向的電流過零時起,到重新施加的正向斷態電壓不會在沒有控制脈沖的情況下使晶閘管開通時的時間間隔。
重新產生正向斷態電壓前在應用中實現的實際脈沖時間被稱為延遲時間。此時間必須始終比關斷時間長。關斷時間主要隨通態電流的下降時間、正向斷態電壓的上升率及結溫而變(見圖29到圖31)。為了確定tq,所選的正向電流持續時間tp必須足夠長,使晶閘管在換向點可以完全開通(見圖28)。數據手冊中規定的值僅對下列條件有效:
結溫:Tvj=Tvj max
通態電流強度:iTM>ITAVM
通態電流下降率:-diT/dt=10A/μs
反向電壓:VRM=100V
正向斷態電壓上升率:dvD/dt=20V/μs
正向斷態電壓:VDM=0.67VDRM
例外:快速晶閘管換向關斷的電流下降率為-di/dt=20A/μs時,此處的dvD/dt可能有所不同,通過型號命名中的第5個字母確定(見章節2.3)。
對于相控晶閘管,通常規定的是關斷時間的典型值,因為這類晶閘管主要用于電網換相變流器。在這些應用中,延遲時間通常比晶閘管的關斷時間長得多。如果延遲時間比關斷時間短,晶閘管將在不施加門極脈沖的情況下,隨著正向斷態電壓上升而再次開通,并且可能導致器件損壞(如有必要,可按要求提供tq極限值)。
如果晶閘管和反向二極管(例如續流二極管)一起工作,由于換向電壓較低,必須考慮更長的關斷時間(通常長30%)。此外,在此類應用中,應使續流電路的電感最小,否則關斷時間可能會顯著增加。

圖28.晶閘管的關斷特性示意圖

圖29.歸一化到Tvj max的關斷時間tq與結溫Tvj的典型關系曲線

圖30.歸一化到-diT/dtnorm的關斷時間tq與關斷換向下降率-diT/dt的典型關系曲線

圖31.歸一化到dvD/dt=20V/μs的關斷時間tq與斷態電壓上升率dvD/dt的典型關系曲線

免責聲明:本文為轉載文章,轉載此文目的在于傳遞更多信息,版權歸原作者所有。本文所用視頻、圖片、文字如涉及作品版權問題,請聯系小編進行處理。
推薦閱讀:






